美术高考网·领导中国美术高考教育第一门户 今天你来美术高考网了吗?
艺术设计教程 服装设计教程环境设计教程 工业设计教程 装饰图案教程 й л

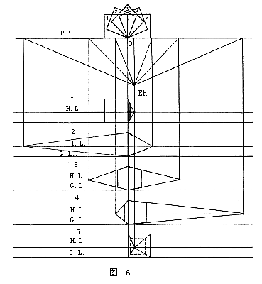
透视的角度(3)

:2008-05-13 л www.mshao.com:美术高考网:

如图:15为立方体的一垂面和画面平行,透视只有一个消失点,在画面上的面的透视为实形。234为立方体的垂面和画面倾斜,透视图有两个消失点。若垂面和画面交角较小时,则透视角度平缓,交角较大时,则透视角度较陡(图16)。

IJε仯лwww.mshao.comLLgζο'Z'
QQ QQ
----------------------------------
лУκ'y塢δЭ'Э'y塢′лwww.mshao.com
'y/壬LLgζ漰ε