人类的眼睛并非以一个消失点或二个消失点看东西,有时没有消失点,有时借用很多消失点看东西。这和照相机的光镜一样,由焦点调整法有时会使前面东西模糊不清,应该看到的东西却变成盲点。绘画和电影则是进行调整,把视觉上的特征有效地表现出来。透视画也应如此作适当的调整,否则就会出现失真现象。
如图:用两个消失点V1、V2的距离作为直径画圆形。越近于圆中心的,越看得自然,越远的越不自然,离开圆形,位于外侧的,使人看不出它是正方形和正六面体。平行透视法尽量限定对象物并设定其相近V,有角透视法,要把对象纳入V1、V2的内侧来画,若要脱离这种规则,需要做若干的调整(图9)。

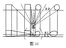
1.视角:
在画透视图时,人的视野可假设为以视点E为顶点圆锥体,它和画面垂直相交,其交线是以C.V.为圆心的圆,圆锥顶角的水平,垂直角为60°,这是正常视野作的图,不会失真。在平面图上,在视角为60°范围以内的立方体,球体的透视形象真实,在此范围以外的立方体,球体失真变形(图10、11)。


2.视距:
建筑物与画面的位置不变,视高已定,在室内一点透视图中,当视距近时,画面小;当视距远时,画面大。
