通过视点的平面和画面的交线是该平面的透视消失线。凡相互平行的平面,透视消失同一消失线。和画面平行的平面的透视没有消失线。
垂直面的透视消失线为一垂线,是过该垂直面上水平线的透视消失点所作的垂线。
平行平面上的平行直线的透视消失点在该平行平面的透视消失线上。
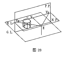
这种斜形透视形体任何一面都倾向于基面,画法复杂费时,不实用。可用分割和增殖法描绘透视(图28、29、30)。



通过视点的平面和画面的交线是该平面的透视消失线。凡相互平行的平面,透视消失同一消失线。和画面平行的平面的透视没有消失线。
垂直面的透视消失线为一垂线,是过该垂直面上水平线的透视消失点所作的垂线。
平行平面上的平行直线的透视消失点在该平行平面的透视消失线上。
这种斜形透视形体任何一面都倾向于基面,画法复杂费时,不实用。可用分割和增殖法描绘透视(图28、29、30)。


