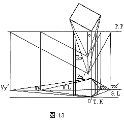
在立方体的两点透视中,当视距近时,消失点Vx、 Vy距离较小;当视距远时,Vx’、Vy’距离大。即视距越近,立方体的两垂直面缩短越多,透视角度越陡。
建筑物与视点的位置不变,视高已定,若视距近(En和P.P.的距离),则两消失点的间距亦小,透视图形小;若视距远(En和P’.P’.的距离),则两消失点的间距大,透视图形大,两图形相似(图12、13、14)。



3.视高:
建筑物、画面、视距不变,视点的高低变化使透视图形产生仰视图、平视图和俯视图及鸟瞰图。视高的选择直接影响到透视图的表现形式与效果。如图:上为仰视图,中为平视图,下为俯视图(鸟瞰图)(图15)。

4.透视图形角度:
画面,视点的位置不变,立方体绕着它和画面相交的一垂边旋转,旋转不同角度所成的透视图形。
