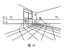
6)在G.L.上,根据 AB的尺寸画出等分。
7)M1、M2分别与等分点连接,求出地面、墙柱等分点。
8)各等分点分别与V1、V2连接,求出透视图(图46、47)。


作法二:
1)过P点作一水平线P-C,并按地板格等分之。
2)连结CD交视平线于M1点。
3)从M1点向P-C
6)在G.L.上,根据 AB的尺寸画出等分。
7)M1、M2分别与等分点连接,求出地面、墙柱等分点。
8)各等分点分别与V1、V2连接,求出透视图(图46、47)。


作法二:
1)过P点作一水平线P-C,并按地板格等分之。
2)连结CD交视平线于M1点。
3)从M1点向P-C